Нюансы эксплуатации самодельной техники
Любая самоделка не всегда снабжена всеми приспособлениями согласно требованиям безопасности. При эксплуатации для того, чтобы избежать несчастных случаев необходимо соблюдать следующие правила:
- Приступая к работе, следует использовать плотно облегающие перчатки, очки и головной убор;
категорически запрещается проталкивать ветки и мусор руками, для этого можно применять следующую партию ботвы. - Диаметр материала для измельчения не должен превышать допустимый согласно мощности двигателя;
не допускается попадание твердых материалов в бункер с режущими лезвиями, они могут повредить ножи и вывести из строя двигатель. - При застревании веток в барабане, установку полностью обесточивают, лишь после удаляют застрявшие куски.
- Питающие провода прокладывают в местах, где не будут лежать ветки, и падать щепа.
Правильное и долгосрочное использование измельчителя веток изготовленного своими руками возможно не только при соблюдении условий эксплуатации, но и при соответственном хранении. После измельчения ножи очищают, а само устройство убирают в сарай, либо под навес, при необходимости подтачивают ножи. Соорудить дробилку для веток своими руками может практически каждый, главное иметь двигатель и необходимые металлические заготовки.
Рейтинг лучших моделей
Современный рынок предлагает широкий ассортимент всевозможных моделей на любой вкус и кошелек, но мы представим вашему вниманию наиболее популярные модели, получившие широкое распространение в нашей стране и массу положительных откликов от владельцев.
Электромаш ИКБ-002
Это самый простой агрегат в эконом сегменте, который, однако, очень даже неплохо справляется со своей прямой задачей – измельчать садовый мусор.
Характеристики:
- Масса – 6.5 кг, номинальное напряжение 220 В.
- Производительность по переработки травы составляет 150 кг в час.
- Мощность 750 Вт.
- Период непрерывной работы – 6 часов.
Плюсы:
- Модель отечественного производства нередко используется не только для измельчения травы, листвы, но и соломы, а также мелких веточек и даже зерна.
- Универсальность прибора и его низкая цена сделала его востребованным на рынке.
Минусы:
Несмотря на низкую цену, агрегат вполне справляется со своей задачей. Разве что, он уступает в мощности шредерам премиального класса.
Стоимость: 3500 руб.
Worх WG430Е 1.2 кВт
Оптимальный вариант для дачи. Лесочная система измельчения позволяет переработать большое количество травы за короткий период времени. Пользователи положительно характеризуют данный агрегат, отмечая надежность и долговечность устройства.
Характеристики:


Плюсы:
- Металлический корпус обеспечивает долговечность агрегата. Ему все нипочем: хоть трава, хоть мелкие веточки или сухостой.
- Особенностью модели является наличие загрузочной воронки для облегчения процесса переработки растительного мусора.
- Электрический двигатель работает от розетки в 220 Вт и отличается хорошей, стабильной работой.
Минусы:
Необходимо регулярно менять леску.
Стоимость: 9700 руб.
PATRIOT PT SE24
Достойный продукт отечественного производителя, завоевавший широкую популярность, как в России, так и в странах СНГ.
Характеристики:
- Электрический мотор мощностью 2.4 кВт отличается хорошей работой и долговечностью.
- Вес 13 кг.
- Скорость вращения 4500 оборотов в минуту.
- Ножевая система измельчения.
Плюсы:
- Достойная модель, в которой превосходно сочетается первоклассное качество и приемлемая цена.
- В комплект входят колеса для облечения передвижения агрегата, толкатель, электростартер.
- Двигатель достаточно мощный, его запуск осуществляется автоматически.
Минусы:
Агрегат достаточно габаритный, весит 13 кг, что не нравится некоторым пользователям.
Стоимость: 9490 руб.
ЗУБР ЗИЭ-40-2500
Данная модель отвечает всем заявленным возможностям и потребностям покупателя. Мощный корпус, неплохая пропускная способность, простота в эксплуатации – отличительные особенности модели.
Характеристики:
Плюсы:
- Это отличный агрегат для садовых работ, который превосходно справляется с поставленной перед ним задачей.
- Ножевая система измельчения позволяет не заботиться о замене лески, удобный контейнер на 50 литров делает работу предельно простой и приятной.
- Кроме измельчения травы, агрегат приспособлен и для переработки веток диаметром до 40 мм.
Минусы:
- Пропускная способность ниже некоторых моделей, например, представителя более низкого ценового сегмента, Электромаш ИКБ-002. Безусловно, существующей пропускной способности вполне хватает для осуществления садовых работ, но, если вопрос стоит о высокой скорости работы по переработки больших объемов травы, то лучше выбрать другую модель.
- Вес выше, чем у многих других вариантов более дешевого сегмента.
Стоимость: 13590 руб.
Ур 2.2 кВт
Пожалуй, это один из лучших агрегатов, который одновременно подходит, как для дачников, так и для владельцев небольших фермерских хозяйств.
Отлично перерабатывает сорняки, сено, сухостой, листву, небольшие ветки. Это агрегат для садоводов, ценящих свой труд и свое время.
Характеристики:
Двигатель электрический, мощностью 2.2 кВт. Производительность – до 100 кг в час. Вес 35 кг. Гарантийный срок – 1 год.
Плюсы:
Универсальность – отличительная черта данной модели. Она подходит, как для переработки растительного мусора, так и для измельчения сена и кормов, поэтому Ур становится незаменимым помощником в фермерских хозяйствах.
В комплект входит емкость с сетками диаметром от пяти до двадцати мм, позволяющие получать на выходе сырье разных фракций
Это особенно удобно, когда важно сортировать сырье для разных нужд. Тип сеток – сменный.
Минусы:
Более высокая цена и крупные габариты.
Стоимость: 25000 руб.
Состав конструкций, особенности изготовления
Измельчитель веток и травы — незаменимый помощник в работе на огороде и в саду, но приобретение его связано с существенными денежными затратами. А поскольку конструктивно шредер несложен, его можно собрать самостоятельно из старого оборудования и доступных материалов.
Садовый измельчитель состоит из следующих основных узлов:
- электрический или бензиновый двигатель;
- стационарные или съёмные ножи, установленные на рабочем валу;
- металлическая или деревянная рама;
- ёмкость для срезанной растительности;
- защитная крышка для безопасности;
- короб для выхода переработанной массы;
- система запуска и контроля.
Нюансы эксплуатации самодельной техники
Сделанный самостоятельно шредер — это по сути три в одном: измельчитель для веток, соломорезка, механизм для резки травы. Он помогает существенно облегчить домашний труд, связанный с утилизацией растительных отходов, а также прокормом птицы и скота.
Для самодельной электротехники рекомендуется устанавливать отдельный дифференциальный автомат, чтобы обеспечить надежную защиту от поражения электрическим током в случае непредвиденных обстоятельств. В любом случае, изготавливая садовый измельчитель самостоятельно, требуется соблюдать правила техники безопасности. Также придерживаться их стоит и во время эксплуатации механизма. Рекомендуется перед работой с техникой надевать очки, подходящую защитную одежду и проверять надежность закрепления элементов конструкции. Следует учитывать при создании самодельного агрегата предстоящий объем работ, а также характер перерабатываемой растительности, чтобы подобрать двигатель нужной мощности и нужную конструкцию ножей. Это позволит сделанному устройству без особых проблем справляться с поставленными задачами.
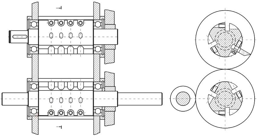
Инструкция по сборке двухвалкового шредера
Работы начинаются с создания рамы. Для этого с помощью угловой шлифмашинки из профильной трубы нарезаются две заготовки длиной 80 см и четыре детали длиной 40 см. Далее между двумя длинными заготовками под прямым углом сваривают короткие отрезки. Две внутренние детали должны размещаться на таком расстоянии относительно друг от друга, чтобы обеспечить надежную установку измельчительного барабана.

Чертеж для сборки валов двухвалкового измельчителя
Следующим этапом является создание валов для измельчительного барабана. Если планируется установить на один вал четыре ножа, то тогда используем квадратную металлическую заготовку. Делаем оба ее конца круглой формы, чтобы они смогли войти в подшипники. Для трех ножей понадобится круглая заготовка, в которой оттачивается центральная часть. В ней делается три плоских среза для последующей установки ножей.
Для создания ножей можно взять небольшой отрезок листа рессоры Камаза. В ножах делаются отверстия для болтов. Затем следует выполнить заточку ножей на точильном станке, где выбирается угол режущей кромки со значением 35-45 градусов. Далее заточенные ножи прикладываются к валу и помечаются места их крепления, в которых создаются отверстия, и нарезается резьба.
Далее приступаем к созданию измельчительного механизма. В двух металлических стенках с помощью сварочного аппарата делаются круглые отверстия для установки подшипников. С помощью специальных накладок и болтов устанавливаем подшипники внутрь металлических стенок. В подшипники вставляем валы, надежно закрепляя их. Они должны располагаться на достаточном расстоянии, чтобы исключить возможность их соприкосновения. Далее соединяются стенки барабана с помощью металлических шпилек с резьбой и гаек.

Чертеж расположения валов на раме двухвалкового шредера
Теперь приступаем к созданию приемного бункера. Для этого из тонкого листового металла вырезается четыре параллелепипеда. Далее каждый край загибается на 4 см. Короткий участок в одну сторону, длинный – в противоположную. С помощью самозатягивающихся заклепок или сварки соединяем все детали. На отогнутых краях у основания короба делаются отверстия для крепежа.
Теперь на валы надеваются шестеренки, для синхронизации движения, и вся конструкция устанавливается на раму и закрепляется при помощи болтов. Затем устанавливается двигатель, который соединяется с валом ременной передачей или цепью. Двигатель лучше брать большой мощности, но с малым числом оборотов. В конце устанавливается и закрепляется приемный бункер. Затем на все вращающиеся части шредера надевается защитный кожух во избежание попадания в измельчитель посторонних предметов.
Главными преимуществами такого агрегата является высокая мощность и техническая способность измельчить толстые ветки в диаметре от 20 до 80 мм. Это будет зависеть от количества ножей и числа оборотов. На многочисленных сайтах в сети интернет представлены подробные рекомендации, как сделать измельчитель веток своими руками. Видео примеры более наглядно отображают весь процесс сборки и монтажа самодельного устройства.

Двухвалковый измельчитель, сделанный своими руками
Изготовление рамы
Для любого типа измельчителя необходимо изготовить основу. На станину будут крепиться все остальные элементы конструкции. Её можно сварить из уголков или труб (лучше квадратных).
Рекомендации по изготовлению основы:
- Высоту станины стоит делать под свой рост.
- Ширина должна быть достаточной для устойчивого положения всей конструкции (рекомендуется сделать не менее 50 см).
- Попарно между стойками следует приварить поперечину. Это придаст основе дополнительную жёсткость.
- Чтобы придать агрегату мобильность, можно прикрепить колёса и ручку. Это позволит быстро и без труда перемещать устройство по всему участку.
Читать также: Чертежи точилки для ножей с поворотным механизмом

Читаем рекомендации по изготовлению рамы
Двигатель устанавливается в створке станины — так он не будет выпирать. Особенно это касается шредеров, которые изготавливаются вручную.
Измельчитель травы для домашней птицы
Любому фермеру, владеющему хозяйством, необходимо заготавливать корм для скота, перебивая траву на мелкие фракции. Большинство подобных измельчителей имеют высокую мощность и рассчитаны на большие объёмы травы. Возникает вопрос: как же можно измельчить траву для небольшого поголовья? Для этой цели можно найти и приобрести специальный измельчитель, рассчитанный на маленькие объёмы, но его цена будет очень высока. Проще и дешевле сделать траворезку способами, описанными в предыдущих разделах либо же из других подручных материалов.
Для заготовки корма из травы в небольших количествах целесообразнее использовать ручной измельчитель травы, который без проблем можно смонтировать к столу шурупами и болтами. Трава, а также небольшие сухие стебли понемногу подаются к ножу через входное направляющее отверстие. При правильной сборке нож будет плотно прижат к отверстию, что позволит измельчать траву на нужную фракцию. Когда нож полностью опускается, он упирается в деревянную планку, что позволяет разрезать траву, а также предотвратить быстрое затупление ножа.

Модель ручной траворезки
Что это такое, разновидности
В процессе приготовления пищи образуется множество очистков, отходов. Эту органику не удается транспортировать по канализационной системе ввиду крупных фракций.

Крупные фракции отходов могут привести к засорам
Проблему полностью решает измельчитель пищевых отходов для раковины – диспоузер, монтируемый под мойкой перед системой канализации.

Измельчитель под раковиной
Эта встраиваемая техника имеет следующую конструкцию:
- корпус – цилиндрической формы, имеет крепление к мойке;
- дробильная камера – сделана из нержавейки, стенки имеют шероховатое покрытие;
- диск дробильный – съемные кулачки из сверхпрочного материала;
- двигатель – смонтирован в нижней части корпуса, на вал насажен дробильный дис, вращающийся в подшипнике;
- толкатель – помогает протолкнуть отходы внутрь дробильной камеры, обеспечивает безопасность пальцев.

Конструкция диспоузера
Для повышения комфортности эксплуатации сразу под фланцем крепления имеется шумопоглащающий экран. Камера так же защищена снаружи шумоизоляционным материалом. Включаются диспоузеры либо поворотом крышки, либо отдельной кнопкой.

Кнопка включения диспоузера
Существуют бытовые измельчители габаритами от 12 см в диаметре, 40 см высоты. Промышленное оборудование может иметь собственные раковины.
Материалы, которые нам понадобятся
Мы не будем убеждать вас, что самодельный измельчитель будет совершенно бесплатен. Естественно, на его изготовление пойдут некоторые детали, которые будут стоить денег. Однако, в среднем, самодельный агрегат обойдется вам в 2 раза дешевле, чем готовый измельчитель раскрученного бренда. Судите сами, для измельчителя вам понадобятся:
- Дисковые пилы – 15-25 штук
- Мотор – бензиновый или электрический
- Шпилька (штанга) М20, к ней шайбы и гайки
- Шкив (например, от генератора ВАЗ) и плотный ремень
- Подшипники
- Металлические трубы для рамы
- Листовой металл для бункера
- Шайбы из пластика 14-24 штуки
Как подобрать измельчитель
Чтобы осуществить корректный выбор измельчителя, необходимо определить следующие параметры:
мощность оборудования. Для семьи из 3 – 4 человек достаточно оборудования с мощностью 500 – 550 Вт. Кухонный измельчитель с данными параметрами успешно справится с переработкой основных видов пищевых отходов, кроме крупных костей и некоторых видов орехов. Для кафе и ресторанов целесообразнее приобретать более мощные устройства (от 1 300 Вт);
размеры оборудования. При покупке измельчителя с большим объемом рабочей камеры можно загрузить одновременно значительное количество мусора, но прибор с увеличенной камерой может не поместиться в пространстве под кухонной мойкой
Важно также подобрать установочные размеры, так как при их несовпадении придется производить переоборудование мойки и канализации;

Подбор измельчителя по размерам
уровень шума. Данный параметр имеет существенное значение при использовании диспоузера в бытовых условиях. Узнать данные об уровне шума можно из технического паспорта кухонного оборудования;
защита от перегрузок и попадания иного мусора
Данная опция является достаточно важной и влияет на срок использования оборудования, так как способна предупредить множество различных поломок;
наличие дополнительных опций. Целесообразнее приобретать прибор с несколькими режимами работы и возможностью реверсивного вращения.. Наиболее популярными производителями диспоузеров являются компании BoneCrusher, Bosch-Siemens и InSinkErator
Наиболее популярными производителями диспоузеров являются компании BoneCrusher, Bosch-Siemens и InSinkErator.
Особенности правильной эксплуатации самодельных агрегатов
Существует еще очень много вариантов, как сделать измельчитель для веток в домашних условиях, но все зависит от имеющихся в распоряжении деталей, инструментов, а также особенностей применения изделий. Вышеописанные инструкции дают понять, что изготовление самодельного устройства не требует больших затрат, и поэтому если не желаете тратиться на покупки не дешевых инструментов, то сделать их можно самостоятельно, уделив несколько часов или дней свободного времени. После того, как конструкция будет готова, перед ее испытанием и применением рекомендуем ознакомиться со следующими тонкостями эксплуатации:
Работы проводить обязательно в защитных очках. Ведь не исключается вылет осколков из подающего бункера, которые могут привести к серьезным травмам. Используйте также перчатки, специальную обувь, наушники и головной убор.
Если в подающем бункере застряла ветка, то не пытайтесь ее достать рукой или подтолкнуть. Для таких случаев следует подготовить специальную палку с разветвлением на конце, которой можно толкать застрявшие ветки, траву и листья.
Не пытайтесь забросить в измельчитель ветку большого диаметра. Кроме того, что это опасно, так вы еще и быстро выведете из строя машину. Если двигателю не хватит мощности раздробить древесину, то она застрянет внутри, и заклинит вал. Мотор от перегрева может сгореть
От больших по диаметру бревен также быстро изнашиваются ножи, поэтому очень важно определиться с диаметром измельчаемых веток, и перед их дроблением, провести сортировку. Категорически противопоказано бросать в шредер камни, стекло и металл
Кроме того, что они могут заклинить двигатель, так еще и несут опасность для жизни человека
Категорически противопоказано бросать в шредер камни, стекло и металл. Кроме того, что они могут заклинить двигатель, так еще и несут опасность для жизни человека
Мелкие частицы могут вылететь из подающего бункера, и попасть в человека, нанося ему увечья.
В случае заклинивания вала, необходимо немедленно отключить электродвигатель от сети, а бензиновый мотор заглушить. Последующий запуск разрешен в том случае, когда будет устранена причина заклинивания.
Подводя итог, надо отметить еще один очень важный момент — необходимость регулярного проведения обслуживания. В частности, следует периодически проверять качество заточки режущих ножей. При их притуплении повышается нагрузка на двигатель, что приводит к быстрому перегреву, и выходу его из строя.
Обязательно нужно регулярно проверять качество креплений, так как от вибраций не исключено раскручивание болтов или гаек, что может привести к травматическим последствиям для человека. Используя выше предложенные идеи и собственные задумки, не составит большого труда сделать качественный и высокоэффективный садовый измельчитель в домашних условиях.
Публикации по теме
Как болгарку использовать для изготовления циркулярки
Ножи из напильника делаем в домашних условиях
Лазерный уровень своими руками процесс изготовления
Изготовление самодельных тисков или как сделать зажимной инструмент в домашних условиях
Преимущества самодельного варианта
В отличие от заводских моделей, самодельный измельчитель не требует излишне бережного отношения. Он станет универсальным помощником в хозяйстве и поможет не только измельчать ветки и другой бытовой мусор, но и дробить плоды (яблоки, груши, сливы), причем вместе с косточками. Это очень удобно при необходимости приготовить джем, пюре или домашнее вино, когда плоды измельчаются до пастообразного состояния.

Садовый измельчитель в действии
Дисковые пилы, образующие нож агрегата, способны перерабатывать довольно большие куски древесины. Конечно, речь не идет о бревнах, но ветки диаметром 10см будут ему вполне «по зубам». Этим самодельный измельчитель выгодно отличается от заводского изделия, корпус которого просто не пропустит крупные части материала. Соответственно, вы значительно сэкономите свое время, ведь вам не придется сортировать ветки по размерам и думать, куда девать слишком крупные фрагменты. Также не нужно будет следить за влажностью материала, в то время как купленный измельчитель требует регулировки степени сырости исходного сырья. Дело в том, что у большинства современных готовых измельчителей, электродвигатель расположен внизу конструкции, поэтому при переработке мокрых стеблей влага неминуемо попадет в двигатель, а это приведет к поломке. В самодельном изделии вы вольны сами решать, где установить двигатель, в описанном выше варианте он расположен горизонтально, на одном уровне с ножами.
Стоит обратить внимание также на экономию средств при использовании самодельного измельчителя. Во-первых, изготовление изначально будет дешевле, чем покупка заводского устройства, а во-вторых, «самоделка» не будет нуждаться в приобретении дорогих деталей при поломке – все ее элементы не отличаются дороговизной

Самодельный садовый измельчитель способен раздробить даже крупные ветки, превратив их в щепки
Кроме того, самодельный садовый измельчитель отличается высокой производительностью. Все отходы, загружаемые в бункер, будут затягиваться дисковыми пилами и исчезать с невероятной скоростью. Таким образом, самодельный аппарат может оказать ничуть не хуже дорогого и современного садового инструмента. Одним словом, если измельчитель очень нужен, но денег на его покупку нет, выход один – сделать его своими руками!
Основные этапы изготовления
Даже простейший измельчитель невозможно сделать без навыков сварочных и слесарных работ. Корпус для подшипников и вал придётся заказывать у токаря в мастерской.
Процесс изготовления имеет несколько этапов:
- Выбор механизма.
- Расчёт главной передачи и приобретение двигателя.
- Выточка деталей на станке.
- Сборка рамы.
- Крепление передачи, привода и механизмов для резки.
- Установка ёмкостей и кожуха.
Рекомендации по выбору механизма веткоизмельчителя:
- Для дробления своими руками веток в щепу оптимальным вариантом считается машина с дисковыми пилами.
- Остановиться на конструкции под названием фуганка можно, если требуется получить из тонких веток более крупные части.
- Порубить древесину диаметром не более 5 см сможет аппарат с дисковой дробилкой.

Для чего используется силос
Многие дачники-садоводы, проживая за городом, выращивают на даче не только овощи и фрукты, но и содержат кур, фазанов, перепелов, кроликов и различных домашних животных. Измельченная трава-силос сможет стать отличным кормом для домашних животных, необходимо лишь позаботиться о наличии в подсобном хозяйстве соответствующего измельчителя, который сможет с легкостью перемалывать траву и сено.
Опытные садоводы используют такую перемолотую траву в качестве мульчи и первоклассного органического удобрения. Потребуется лишь обеспечить максимально мелкое измельчение травы, в результате которого слой мульчи получится плотным, что и необходимо для удержания влаги и тепла в земле.
С помощью такого универсального оборудования можно с легкостью перемалывать злаки, овощи и фрукты, что позволяет делать качественный корм для скота, избавляя от необходимости покупки дорогостоящего комбикорма.
Измельчитель с рабочей матрицей из пил
Сборка этого аппарата несколько легче предыдущего, тут меньше работ по сварке. Для измельчителя потребуются:
- пилы по дереву с зубьями из твёрдого сплава – 20 штук;
- шайбы разделительные толщиной 5 мм с отверстием 20 мм – 19 шт.;
- сталь листовая толщиной 2 мм;
- трубы для производства рамы;
- вал с резьбами на концах диаметром 20 мм;
- 2 подшипника качения;
- крепеж (болты с гайками)
- шкивы, ремень.

Этот простой садовый измельчитель собирается путем поочередного набора шайб и пил на общем валу, после этого они сжимаются с боков гайками. Шайбы прокладывают между пилами для того, чтобы их намного толстые режущие части из твёрдого сплава не прижимались друг к другу и не сдавливались при затяжке гаек. Потом на вал напрессовываются подшипники и монтируются в обоймы, приваренные к раме из труб.
Другие работы по сборке измельчителя производятся, как и в прошлом варианте: нужно сделать ременную передачу на шкивах с креплением мотора к раме, сделать кожух с бункером и установить их на место, как это показано на фото:
Примечание. Получившаяся матрица из дисковых пил в рабочий период может забиваться очень маленькой фракцией древесины, порой в ней застревает щепа. Зато твердосплавные зубья долго служат без заточки, основное – не нагревать их, иначе напайки могут отлететь.
Необходимые материалы
Чтобы сделать садовый измельчитель своими руками, нужно время, инструменты, материалы. Самоделка будет не дешевой, когда все придется покупать. Затраты окупятся, если стоимость сделанного самим агрегата в 3-4 раза меньше заводского аналога.
Двигатель
Мощность двигателя определяет толщину перерабатываемых веток, продолжительность непрерывной работы.
| Мощность | Толщина прутьев |
| 1500 Вт | до 2 см |
| 3000-4000 Вт | до 5 см |
| от 6000 Вт | 10 см |
Наличие трехфазной электрической сети – обязательное условие при эксплуатации мощных электрических двигателей.
2 шкива
Подшипники, звездочки, шестерни, шкивы подбирают так, чтобы передаточное число обеспечивало требуемую скорость вращения основного вала. Оптимальное значение 1500 об./мин.
Если у электродвигателя 2800 об./мин., то для уменьшения значения до 1400 об./мин. устанавливают два шкива определенного диаметра:
- ведомого − 200 мм,
- ведущего − 100 мм.
Выгоднее для клиноременной передачи вытачивать шкивы на 3-4 ручья. Переставляя ремень, можно будет регулировать обороты.
Дисковые пилы или фрезы
Для изготовления качественного пакета длиной 6-10 см берут 15-25 фрез либо пильных дисков. Ось подбирают по значению посадочного диаметра, если у дисков он 20 мм, то берут шпильку M20. Чтобы зубья при эксплуатации не зацеплялись, между дисками вставляют самодельные пластиковые шайбы.
2 подшипника
На ось-шпильку M20 надевают шкив. Деталь берут от генератора ВАЗ, помпы. Для обеспечения вращения − 2 подшипника. Внутренний диаметр деталей − 20 мм.
Профильная труба в метрах
Режущий блок, состоящий из оси и дисковых пил, и двигатель устанавливают на раму, сваренную из профильных металлических труб. Размер определяют, учитывая габариты узлов. Мотор и вал с дисковыми пилами должны отстоять друг от друга.
Чем длиннее ремень, тем ниже КПД передачи.
Упорный брусок изготавливают из металлического профиля, приваривают к станине.
Листовой металл для корпуса и бункера
Корпус делают из листа железа толщиной 5 мм, этот материал самый надежный. Емкость с раструбом для подачи веток изготавливают из оцинковки, она гибкая соответствует техническим требованиям, которые предъявляют к этому элементу конструкции. Остов делают из труб или швеллера. Высоту рассчитывают, ориентируясь на рост оператора.







