Техника резки стекла
Перед тем как резать стекло стеклорезом лист стекла необходимо уложить на ровную поверхность и прижать к нему лекало.

Необходимо уложить на ровную поверхность
С использованием стеклореза надо обозначить начало и конец шва. Во время разметки необходимо учесть размер отступа от режущей части до края стеклореза. После того, как намечены конечные линии шва режущей кромкой, наносят надрезы по намеченной линии. Это необходимо для предохранения стекла от появления трещин в процессе реза.

Обозначить начало и конец шва
Инструментом необходимо провести по поверхности листа, при этом очень важно нормировать усилие, в противном случае стекло можно просто расколоть. При нанесении линии необходимо ее делать быстро и за один раз
При этом линию необходимо нарезать за один раз
При нанесении линии необходимо ее делать быстро и за один раз. При этом линию необходимо нарезать за один раз.

Процесс разделения стекла по линии разреза
После проведения линии необходимо определить, нет ли надобности в проведении повторной линии. Если надрез выполнен качественно, то легким постукиванием по линии нареза стекло будет откалываться.
Как нарезать стекло без стеклореза
Резать стекло можно и без помощи стеклореза. Очень часто используют для данной процедуры самые простые ножницы. Чтобы разрезать хрупкий материал ножницами, его нужно поместить в теплую воду и под ней вырезать куски нужного вам размера. Обычное стекло будет резаться с помощью ножниц не сложнее, чем картон или другая прочная бумага.
Если нужно резать большой кусок стекла, то его можно положить в таз или ванну большого размера. Потом проведите по стеклу острой частью ножниц, отломите ненужные части стекла. Чтобы не порезаться об острую кромку, обязательно предварительно оденьте перчатки. В то же время желательно еще защитить и глаза.
Таким способом можно резать стекло не более чем 3 мм. Фигуры можно вырезать исключительно с прямыми контурами. Заранее нужно в обязательном порядке приготовить шаблон и приклеить его к стеклу, используя клей. Стоит отметить один интересный момент: чем больше воды будет находиться над стеклом, тем проще будет порезать будущее изделие.
Как правильно резать стекло электрическим паяльником видео
Также можно использовать бечевку, какую-то горячую жидкость и небольшой сосуд, который требуется наполнить холодной водой. На стекле нужно сделать нужные пометки, потом пропитывайте бечевку спиртом или бензинов, сложите его на пометки и подожгите. Сразу после того, как погаснет огонь, нужно полить тонкой струей воды линию. В этом месте стекло должно обязательно треснуть. Затем отломите стекло по трещине, которая получилась, и зачистите все края наждачной бумагой. Если же трещины не появилось, то нужно еще раз повторить всю процедуру. Таким способом можно вырезать очень сложные фигуры, все будет зависеть от того, как вы уложите бечевку.
Паяльник
Ещё один способ, как можно обрезать стекло без стеклореза, используя температурное расширение-сжатие материалов. Для работы потребуется паяльник, поэтому, скорее всего, чаще им будут пользоваться электромонтажники. В начале и конце разметки делается насечка напильником. Затем начинают нагревать точку на линии реза на расстоянии 2 мм от этой риски вплоть до образования микротрещины между ними. Последовательно смещая зону нагрева каждый раз на шаг 2 мм, мастер создаёт протяжённую по всей длине трещину. Этого достаточно, чтобы затем, как и при работе стеклорезом или сверлом, отломить нужную часть. Данный технологический процесс очень медленный, но его можно ускорить, охлаждая время от времени поверхность материала мокрой тряпкой.
Инструкция по резке закаленного стекла
Высокая прочность и твердости поверхности определяет то, что при резке могут возникать довольно серьезные проблемы
При рассмотрении того, как отрезать каленое стекло следует уделить внимание нижеприведенным моментам:
- Подготовка заготовки проводится путем отжига. Эта технология предусматривает равномерный нагрев поверхности. За счет этого ликвидируется напряжения, которое формируется внутри материала на момент его закалки. За счет подобного напряжения становится намного сложнее достигнуть требующихся размеров.
- Процесс отжига предусматривает нагрев воды до определенной температуры, после чего в нее опускается заготовка. Стоит учитывать, разрезать автомобильное стекло или декоративного применения следует при различной температуре, все зависит от марки материала.
- Время выдержки каленого стекла в воде может существенно отличаться. В некоторых случаях требуется около часа, самые тяжелые варианты исполнения выдерживаются в течении месяца.
- После достижения требуемой температуры изделие медленно охлаждается. Работа выполняется медленно, за счет этого исключается вероятность появления даже мельчайших дефектов.
- Как только температура поверхности снизилась, можно надеть очки и провести резание при применении стеклореза. Подобным образом можно обрезать стекло для телефона.
- Прежде чем проводить резку следует провести нанесение разметки. Ровных и точных линий достигают при применении угольника и других измерительных приборов.
- Нажимать на материал следует со средней силой, так как высокая нагрузка может привести к серьезным дефектам. Рез проводится быстро, повторно пытаться сделать линию не рекомендуется по причине того, что подобные действия могут привести к появлению раскола и трещин.
- На момент резки следует быть осторожным, так как повторно сделать линию разреза уже не получится. После получения требующейся линии под ней размещается стержень, резким толчком изделие делится на две части.
При аккуратном выполнении работы можно получить качественный срез. Провести отделку торцевой поверхности можно шлифовальным камнем.
Резка стекла стеклорезом
По своей сути, процесс резки стекол довольно необычен, но при этом сложным он может показаться лишь при первых попытках. Если производить нужные действия в правильном порядке, а также резать с определенной скоростью и силой, все обязательно получиться. Представленное ниже руководство, по шагам, рассказывает, как правильно резать стеклорезом, но несмотря на полноту теории, мы рекомендуем новичкам сперва попрактиковаться на менее ценных осколках. Лучше приниматься за основной материал, хотя бы после пары успешных резов. Первым делом следует подготовить стекло к работе. Для этого его поверхность необходимо отчистить от пыли и грязи. Линия реза на чистом стекле будет более равномерной, что увеличит шансы на ровный скол. Помытую поверхность следует протереть газетой и обезжирить спиртом или керосином. После всех процедур, оставьте стекло на 10 минут для испарения оставшейся влаги.
Наносить разметку на стекло лучше фломастером или стеклографом. Для этого просто отмеряем необходимые нам размеры с обоих краев, прикладываем к указанным точкам линейку и намечаем линию будущего реза.
Самый ответственный шаг всего процесса – проведение стеклорезом по стеклу. Берем роликовый или масляный стеклорез (про алмазный рассказывается в видео ниже) и проводим короткую линию, до 5 мм от верхнего края. Следом, от неё ведем режущий ролик к концу нашей отметки. Перемещаем стеклорез по стеклу точным, уверенным движением с силой давления чуть выше среднего. Если резец острый, а прилагаемое усилие оптимальное, Вы услышите легкое потрескивание. Получившаяся линия должна быть равномерной и полупрозрачной. Периодическое расширение или обрыв линии, могут образоваться из-за затупившегося резца или слишком сильного нажима. Не рекомендуется проводить дважды по одному месту. Лучше отступить 5-10 мм от первоначальной отметки и сделать новый рез.
Кульминационным этапом резки стекла является его разделение. Существует несколько верных способов контролируемого скола. Начитать всегда лучше с наиболее деликатного воздействия, и при отсутствии результата, повышать нагрузку (в пределах разумного).
Кладем стекло на стол или другую более-менее ровную поверхность, так чтобы линия реза была параллельна краю и выходила за него на пару сантиметров. Далее берем стеклорез и слегка постукиваем железным наконечником у одного из краев линии реза с обратной стороны стекла. Когда образуется небольшая трещина, просто отламываем свисающий кусок стекла легким движением руки.
Если за пару десятков ударов, трещины так и не образовалось, переходим к плану Б. Кладем под край стекла, вдоль линии реза спичку, гвоздь или зубочистку и слегка надавливаем на полотно с боков. Если после умеренного давления стекло осталось целым, можно прибегнуть к самому грубому способу. Совмещаем линию реза с краем стола или другой поверхности и давим на отламываемую часть рукой. Делать это нужно в перчатках и защитных очках. Перенапрягаться при этом не стоит
Если стекло не ломается, значит линия реза недостаточно глубока и лучше попробовать сделать новую и обратить внимание на заточку режущего ролика Вашего инструмента
После успешного скола стекла, остается его только обезопасить, зачистив края мелкозернистой наждачкой или бруском. Надеемся, что приведенное выше руководство, поможет Вам выполнить точный рез стекла. Для большей наглядности, рекомендуем посмотреть видео как пользоваться стеклорезом с колесиком и алмазом.
Какие инструменты использовать?
Многие из нас привыкли считать, что правильно и качественно резать стекло можно только стеклорезом. Но что делать, если отрезать кусок стекла нужно срочно, а этого инструмента под рукой не нашлось? Существует еще один необычный, но не менее эффективный способ, помогавший выйти из сложившейся ситуации еще нашим прадедам. Таким инструментом являются обычные ножницы, имеющиеся в наличии у любого хозяина. Рассмотрим каждый способ в подробностях.
Вариант 1: стеклорез
Технология резки стекла стеклорезом достаточно проста. Для этого необходимо соблюдать определенные условия и правильно подобрать стеклорез. На сегодняшний день выбор этого инструмента достаточно широк, что позволяет превратить работу в удовольствие.
- Алмазный стеклорез, проверенный временем и остающийся лидером в своем деле по сей день. Для домашнего использования подойдут стеклорезы со скошенной режущей кромкой. Такой инструмент рассчитан на резку стекла до десяти километров и подходит для любой толщины используемого материала. Время от времени такой стеклорез требуется затачивать на специальном бруске.
- Роликовый. Следуя из названия, режущая часть такого стеклореза выполнена в виде ролика из прочного кобальто-вольфрамового сплава. Число роликов может составлять от одного до шести.
- Масляный. Такой инструмент работает по принципу роликового стеклореза, с той разницей, что в его ручку встроен резервуар с маслом, которое подается автоматически на ролик. Подходит для того, чтобы резать толстое стекло.
О том, как выбрать хороший стеклорез, смотрите видео:
https://youtube.com/watch?v=J9iB8C1X6Dk
Итак, разобравшись со стеклорезом, расположите стекло на ровной поверхности. Произведите разметку стекла и приступайте к работе. Для облегчения задачи можете использовать линейку. Стоит учитывать тот момент, что линию нужно провести с первого раза, иначе повторная попытка приведет к растрескиванию поверхности. Резать стекло стеклорезом нужно прилагая одинаковые усилия по все длине проводимой линии.
https://youtube.com/watch?v=t2aLymfM3MI
Вариант 2: обыкновенные ножницы
Резать стекло ножницами как бумагу – это не сказка, а вполне обыденная реальность. Для этой цели вам потребуются сами ножницы (лучше всего для этого подойдут швейные) и резервуар с водой (лучше горячей). Необходимо заранее нанести разметку на стекло, а дальше, в работу включается элементарная физика: ножницы создают микротрещину, а завершает процесс капиллярный эффект. Конечно, полученный результат будет отличаться от достигнутого стеклорезом, но при необходимости данный способ может значительно выручить.
Меры предосторожности и техника безопасности
Прежде, чем отрезать зеркало, необходимо понимать, что этот вид деятельности несет в себе потенциальную угрозу для исполнителя.

Многие дизайн-проекты требуют нестандартные зеркала в интерьер.
Поэтому, чтобы уберечь себя от непредвиденных производственных травм, важно придерживаться следующих мер безопасности:
В обязательном порядке надевать защитные очки и перчатки. Защита глаз обязательна, так как мелкие осколки, которые могут случайно попасть на слизистую, впоследствии нанесут непоправимый урон органу зрения.
Подготовить специальный ящик, в который будут складываться обрезки производства. Это обязательно выполнять, чтобы не допустить попадания мелких частей стекла на одежду или не порезаться об них.
Поверхность, на которой будут осуществляться все манипуляции, должна быть исключительно ровной и большой по площади. Так же рядом должны находиться все подручные инструменты и материалы.
После того, как как в домашних условиях разрезали стекло или зеркало, необходимо протереть рабочую поверхность и пол вокруг нее влажной тряпкой
Эта манипуляция также должна выполняться со всеми предосторожностями. В противном случае можно загнать под кожу мелкие осколки, от которых избавиться впоследствии будет достаточно проблематично.

Перед тем, как резать зеркало стеклорезом, ознакомьтесь с требованиями техники безопасности.
Как резать стекло стеклорезом: подробная инструкция
Если вы запланировали произвести работы по резке стекла, то в первую очередь следует определиться, какой именно стеклорез лучше всего подойдет именно под ваш случай. На данный момент существуют два вида инструмента – это алмазный и роликовый.
Алмазная модель считается по праву лидером среди инструментов данного типа. Если вы собираетесь использовать его в домашних условиях, то отлично подойдет та модель, которая имеет скошенную кромку, что очень удобно для отламывания разрезанных кусков. Резать стекло таким стеклорезом можно практически десять километров материала, с толщиной вплоть до одного сантиметра. Но в тоже время следует учитывать, что существует и дешевые виды, в которых установлен искусственный алмаз, позволяющий разрезать стекло толщиной не превышающий 5 мм.
В отличие алмазного, роликовый стеклорез имеет рабочий элемент в виде небольшого ролика, как правило, изготовленного из твердосплавных материалов, обычно это сплав вольфрама с кобальтом, который способен разрезать материал толщиной до 4 мм. Преимущество такого вида инструмента в том, что ролик может с легкостью перемещаться по стеклу, при этом, не прикладывая больших усилий для прокладки борозды.
Процесс работ производиться в следующем порядке:
На поверхность рабочего стола, укладывается чистое и сухое стекло. Маркером делается необходимая разметка. Далее на обоих концах, по размеченной линии проделываются небольшие разрезы. Учтите, что используемый материал должен плотно соприкасаться с поверхностью рабочего стола.
Как правильно пользоваться и резать стекло стеклорезом видео
После, на стекло нужно наложить линейку и вдоль нее инструментом провести линию. Держать алмазный стеклорез в руках стоит точно так же, как и обычный карандаш, при прохождении по отмеченной линии, следует приложить лишь небольшое усилие. В результате чего на стекле остается лишь едва заметный след, который внешне похожий на царапину. Если инструмент вполне исправен, то обязательно должен присутствовать характерный звук, напоминающий потрескивание. Если звук скрипящий, то это означает, что его режущий элемент требуется подточить на специальном для этого бруске.
Держать такой инструмент во время работы следует под небольшим углом, правильность которого определяется опытным путём. Учтите, инструмент, который находится в правильном положении относительно стекла, оставляет бесцветную тонкую линию.
Роликовый стеклорез в отличие алмазного, нужно держать строго под прямым углом к поверхности стекла, при этом прижимая его средним и большим пальцем, а указательным надавливая на него. Учтите, что на роликовый инструмент, надавливают чуть больше чем на алмазный, а сам надрез должен получиться белого цвета.
Для того чтобы получить качественный и, конечно же, ровный срез — помните несколько простых правил, которые необходимо выполнять во время работы со стеклом с использованием алмазного инструмента:
- Не давите на стекло во время перемещения стеклореза, иначе срез получится слишком глубоким, а края его будут неровными.
- По полученной линии ни в коем случае нельзя делать еще один разрез. В противном случае стекло может расколоться. Разрез нужно делать максимально быстро. К примеру, если режем длину в метр, то нужно потратить на нее не более двух секунд.
- Для того чтобы заготовка выломалось быстро и точно по линии разреза, нужно слегка постучать по обратной стороне стекла. После чего вам не понадобится никаких усилий, чтобы отломить его.
Как правильно резать стекло масляным стеклорезом видео
Если вы только начинающий мастер, то лучше всего потренироваться на небольших кусках, это поможет определить правильный угол наклона инструмента, набраться опыта, уменьшить убытки, а также в дальнейшем избежать ошибки.
Подготовительный этап
Чтобы свести к минимуму возникновение затруднений, стекло нужно хорошо вымыть и полностью высушить. Если материал новый, его вполне достаточно протереть ненужными газетами. Старые стекла моют, обезжиривают с помощью керосина и высушивают.
Чтобы стекло соответствовало необходимым размерам, его нужно разметить обычным карандашом. Раскрой нужно произвести так, чтобы минимизировать отходы, поэтому длинную сторону стекла совмещают с более длинной стороной будущего изделия.
Необходимые инструменты
Перед тем, как резать стекла стеклорезом, нужно определиться, какой же у вас инструмент. Дело в том, что есть два вида стеклорезов, при этом технологии их использования значительно отличается:
- Алмазный стеклорез стоит дорого, но способен разрезать стекло толщиной в 10 мм. С помощью такого инструмента можно вырезать даже сложные конструкции с кривыми линиями. Инструмент держат как обычную пишущую ручку под небольшим углом (только более вертикально). Линия разреза должна быть аккуратной, тонкой и бесцветной.
- Роликовый стеклорез разрезает стекло толщиной 1-4 мм. В продаже есть модели с 1,3 и 6 роликами. В последнее время особую популярность завоевал роликовый стеклорез с маслом, так как с ним работать проще всего. Инструмент держат строго перпендикулярно рабочей поверхности, при этом сила нажима регулируется указательным пальцем. При соблюдении всех технологий резки линия будет белого цвета.
Выбрать инструмент для резки стекла несложно, труднее сам процесс работы, ведь для хорошего результата нужно по максимуму быть аккуратным и внимательным.
Стекло полностью укладывают на подготовленную рабочую поверхность. Для начала можно потренироваться на небольшом кусочке. Специалисты рекомендуют перед резкой подложить под стеклорез толстую деревянную линейку, расположив ее таким образом, чтобы она находилась в стороне от начерченной линии. Чтобы предупредить скольжение линейки, под нее подкладывают несколько кусочков резины.
При резке нужно равномерно прикладывать одинаковые усилия и провести точную линию сразу же. Повторная попытка провести линию на том же месте приведет к появлению трещин. Если линия не получилась, от места первой попытки нужно отступить на 1 мм и попробовать заново. После разреза стекло нужно разместить так, чтобы линия реза совпала с краем рабочей поверхности. Находящуюся на весу нижнюю сторону стекла аккуратно простукивают стеклорезом и отламывают, придерживая часть листа на столе. Разломать стекло можно руками или плоскогубцами (с надетыми на концы кусочками шланга).
Но если ни одного, ни другого инструмента под руками не оказалось, можно попробовать разрезать стекло острыми швейными ножницами. Все просто: нужно разметить материал и создать с помощью ножниц микротрещины.
Виды стекол и особенности работ
Проблем с резкой обычного стекла практически не возникает. Но с другими видами стекол могут возникнуть серьезные трудности.
- Закаленное стекло .
Резка каленого стекла практически не осуществима, так как чаще всего при попытках разреза оно просто разламывается в произвольных местах. Если в планах фигурируют предметы интерьера с использованием каленого стекла, его резку нужно проводить непосредственно перед закалкой. Это означает, что подобную работу нужно доверить только профессионалам.
- Рифленое стекло .
Узорчатое стекло часто используется для остекления дверей или других предметов интерьера. Процесс резки ничем не отличается от работы с обычным стеклом, только рифленое стекло лучше резать с помощью роликового стеклореза исключительно по гладкой стороне.
РЕЖЕМ ТРИПЛЕКС
Уверен, что многие самодеятельные автоконструкторы при изготовлении машины сталкиваются с проблемой остекления кузова. Большинство из них выходят из положения, «привязываясь» к размерам и формам автомобильных стекол, исполь зуемых на серийных моделях. Я же рискнул взяться за оснащение своего «джипа» стеклами типа триплекс, обрезанными под необходимые размеры самостоятельно. Для этого использовал алмазный резец. С обеих сторон триплекса прочертил им риски, которые простучал до появления трещины по всей длине. Затем удаляемую часть прогрел пламенем спиртовки. Соединяющая слои триплекса пленка разогрелась, что позволило оттянуть части стекла до появ ления между ними зазора. После чего мне осталось разрезать пленку острым ножом, а неровные кромки стекла притупить наждачной бумагой.
Способ этот довольно прост и продуктивен; но хорош он лишь для тех, кто имеет большой опыт обычных стекольных работ, только опытный мастер может дать гарантию того, что при простукивании трещина пойдет в нужном направлении. Поэтому, испортив несколько стекол, я пошел по более сложному пути — изготовил из подручных средств специальный станок.
Применение станка позволяет не только свести до минимума процент брака, но и резать стекла с небольшим искривлением. Для пользования им не нужна особая квалификация
Единственный недостаток устройства — невысокая производительность, но в условиях единичного производства это совершенно не важно
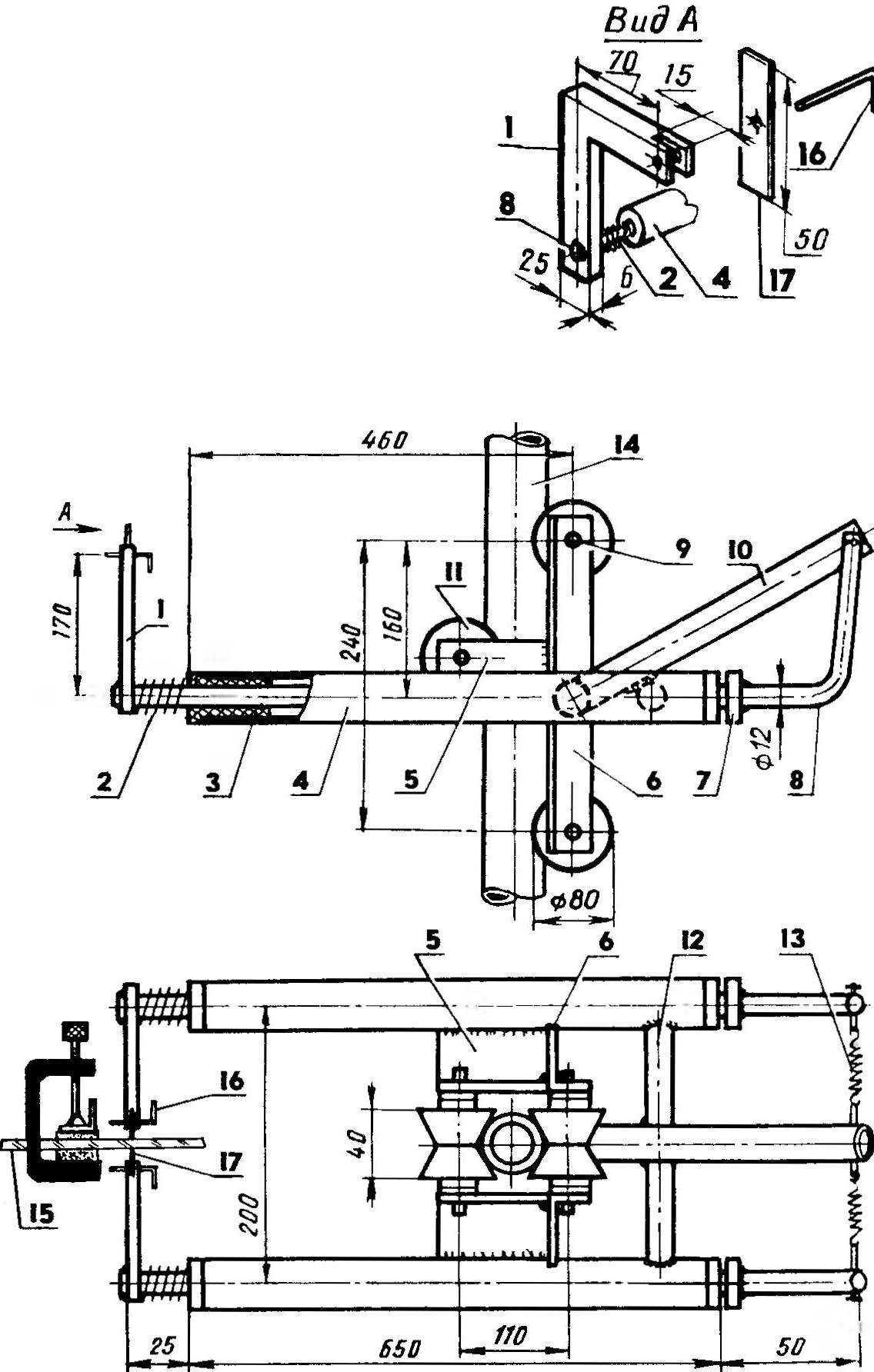
Приспособление для резки триплекса состоит из двух частей: неподвижной станины и перемещающейся по ней каретки с резаками. Станина сварена из стальных уголков 50×50 мм и стальной трубы диаметром 48 мм.
Каретка представляет собой несложное устройство, перемещающееся по вертикальной стойке станины на трех колесах-катушках. В качестве режущих инструментов используются купленные в магазине хозтова-ров ножовочные полотна с алмазным напылением. Полотна разрезаны ножницами по металлу и под фиксирующие штифты в них просверлены отверстия. Кроме того, к вертикальным стойкам станины струбцинами через прокладки из пористой резины крепится и стеклянная заготовка.

Приспособление для резки триплексного стекла:
1 – горизонтальная опора (стальной уголок 50×50), 2 — вертикальная стойка (стальной уголок 50×50, 2 шт.), 3 — обрабатываемое стекло, 4 — струбцина (3 шт.), 5 — горизонтальная связь (стальной уголок 50×50, 2 шт.), 6 — направляющая (стальная труба Ø 48), 7 — шкив (сталь, 2 шт.), 8 — шнур капроновый Ø 6,9 — каретка в сборе, 10 — раскос (стальная полоса 50×2), 11 — струбцина-ограничитель (2 шт.), 12 — противовес.

Каретка:
1 — держатель резака (сталь, 2 шт.), 2 — пружина сжатия (2 шт.), 3 — втулка (фторопласт, 4 шт.), 4 — цилиндр (стальная труба 28×1, 2 шт.), 5 — кронштейн средней катушки (стальной уголок 45×45, 2 шт.), 6 — кронштейн верхней и нижней катушек (стальной уголок 45×45, 2 шт.), 7 — шайба (сталь, 2 шт.), 8 кронштейн держателя (стальной пруток Ø 12,2 шт.), 9 — ось катушки (болт М12, 3 шт.). 10 — кронштейн (стальная труба Ø 27), 11 — катушка (сталь, 3 шт.), 12 — поперечная связь (стальная труба Ø 27), 13 — пружина растяжения (2 шт.), 14 — направляющая станины, 15 — обрабатываемое стекло, 16 — штифт-фиксатор (стальная проволока Ø 2, 2 шт.), 17 — резак (ножовочное полотно с алмазным напылением, 2 шт.).
Стекло режется одновременно с двух сторон. Усилие прижима резаков к нему регулируется натяжением пружин. Во избежание перекосов, что недопустимо, передвигать каретку вверх-вниз следует с помощью шнура, перекинутого через два шкива. Для облегчения работы служит разгрузочный противовес. Две струбцины, установленные на стойке, используются как ограничители перемещения. Во время работы линия разреза обильно смачивается водой из поролоновой губки.
«Пропилив» стекло, остается ножом разрезать пленку. Нагрев не требуется, так как зазор достаточно широк.
Если углы триплекса должны быть закругленными, то это делается последовательным обрезанием по касательным и подравниванием затем кромки на наждаке.
Изготовленное таким способом остекление моего автомобиля отлично служит уже два года.
В. БЕЗРУКОВ, г. Электроугли, Московская обл.
Заметили ошибку? Выделите ее и нажмите Ctrl+Enter, чтобы сообщить нам.

























































