Мерцание при просмотре каналов – неисправности в приеме сигнала
Часто мерцает телевизор только при просмотре цифрового телевидения. А при переключении на DVD-плеер, флеш-карту или трансляцию с ПК все приходит в норму. Это указывает на плохой сигнал, причиной которому служит неисправность антенны, кабеля, ресивера. Диагностика и исправление ошибок зависит от типа вещания.

Настройка спутникового телевидения
Спутниковое ТВ подключается при помощи антенны, кабеля, ресивера или специальной карты. Источником сигнала служит тарелка, провод, провайдер, предоставляющий услуги. Приставка также оказывает влияние на качество. Она декодирует сигнал и передает его на ТВ через провод «Тюльпан» или HDMI.
Для диагностики необходимо провести следующее:
- Убедиться, что телевизор сам по себе хорошо поддерживает цифровое телевидение. Старые кинескопные модели могут сбивать картинку при трансляции изображения. Новые, поддерживающие Full HD, не должны портить изображение.
- Проверить настройки антенны. Убедиться, что рядом нет металлических предметов, влияющих на сигнал. Повернуть тарелку в сторону источника. Сверить ее расположение с инструкцией.
- При слабом сигнале можно приобрести антенный усилитель. Он подходит для квартир и домов, расположенных в удалении от источника трансляции. Установка прибора проходит по инструкции.
- Визуально осмотреть все кабеля, идущие от тарелки до ТВ. Убедится, что нет заломов, загибов и других механических повреждений.
- Осмотреть разъемы. В них не должна накапливаться пыль. И не должно быть физических повреждений.
Для проверки работоспособности кабеля его можно заменить на другой вариант. Для исключения ошибок в настройках антенны, попробуйте использовать кабельное или антенное вещание.
Проверка работы кабельного ТВ
Кабельное телевидение транслируется через кабель, проведенный в квартиру или дом. Это один из самых распространенных вариантов вещания в многоквартирных домах. Услуги предоставляют различные провайдеры, у которых, также как и в спутниковом ТВ, могут проводиться технические работы.
Убедиться, что мерцание ТВ связано с источником сигнала достаточно просто, необходимо подключить периферийное оборудование или другой вариант трансляции. Если проблема останется – причина не в кабельном телевидении.
Для диагностики причин, почему рябит телевизор с кабельным ТВ, необходимо:
- Визуально осмотреть провод, проложенный по квартире. Убедиться, что на нем не стоит мебель, нет механических повреждений.
- Посмотреть на разъем подключения к приставке и телевизору. Если провод был проложен внатяжку, постепенно коннектор деформируется от постоянной нагрузки. В итоге, портится сигнал и появляется рябь.
- Перезапустить приставку, выключив ее из питания на 10-15 секунд. Сбросить настройки на заводские. Часто помехи случаются из-за программных сбоев.
Совет. Если при осмотре кабеля или разъемов обнаружились неисправности, позвоните провайдеру и вызовите мастера. Не стоит менять элементы оборудования самостоятельно, это может привести к более дорогостоящему ремонту.
Настройка аналогового, цифрового телевидения
Эфирное телевидение часто подключается через простую антенну или кабель из подъезда. Оно позволяет смотреть 20 бесплатных каналов. И проверить, действительно ли причина в источнике сигнала просто. Для этого достаточно вытащить антенный провод из ТВ и проверить, сохранилось ли мерцание. Если нет, то можно:

- Заменить кабель от антенны до телевизора;
- Поменять антенный разъем;
- Пошевелить тарелку, убедиться, что рядом нет металлических элементов.
Если ни одна из манипуляций не помогла избавиться от ряби, придется покупать новую антенну и настраивать оборудование заново.
Перезагрузка ресивера
Причиной, почему моргает телевизор, может быть программный сбой в цифровой приставке. Ресивер выступает в роли декодера. Устройства от провайдера также предоставляют возможность записи видео, воспроизведения флешек.
Перезагрузка прибора проходит по следующей схеме:
- Отключить приставку из сети на 10-15 секунд. Запустить оборудование заново.
- Зайти в меню ресивера, если перезагрузка по питанию не помогла. Найти пункт «Настройки». И выбрать вариант «Сброс на заводские настройки» или «установки». Ввести при необходимости код 0000, 1111, 1234.
- Дождаться перезагрузки оборудования, настроить заново каналы автоматическим поиском.
Такой способ помогает от разных программных сбоев, включая зависание каналов, невозможность записи видео, некорректность отображения данных с флешки.
Нет изображения на телевизоре, а звук есть – частая поломка техники
Часто у потребителей начинаются проблемы с бытовыми приборами, если они не соблюдают рекомендации производителя. Поливая комнатные цветы из пульверизатора, которые стоят недалеко от телевизора, вы можете распылить микрочастицы воды на устройство. Влага, проникшая внутрь аппарата, пагубно воздействует на микросхемы. Установите телевизор так, чтобы он не упал. Случайное падение прибора может обернуться дорогостоящим ремонтом.
Нет изображения на телевизоре LG – пробуем устранить проблему самостоятельно

После подключения к компьютеру на телевизионном экране не появляется картинка, которую вы ожидаете увидеть. Оборудование в этом случае часто находится в исправном состоянии, а источником неприятности оказывается кабель HDMI. Если он перегнут или порван, то по нему не будет проходить сигнал от компьютера.
Убедитесь, что вы не активировали спящий режим, при котором картинка пропадает, а звук остается. Устранить поломку разъемов на кабеле вы должны доверить специалисту.
Ремонт телевизоров – услуга, благодаря которой проблема с неполадкой техники быстро решается. Самостоятельное проведение диагностики не всегда может считаться достоверным. Для точного определения первопричины поломки понадобится специальное оборудование, способное быстро найти поломанную деталь.
Полосы на экране не означают, что он вышел из строя, и требуется ремонт мониторов (Саратов). Плохие соединения становятся причиной появления горизонтальных полос. Такую же проблему могут вызывать поломка развертки, неотлаженная работа дешифраторов, потеря контакта шлейфа. Серьезную поломку должны устранять квалифицированные специалисты.
Что касается вертикальных полос на экране Samsung , то их появление указывает на дефект матрицы. Если вертикальные полосы широкие, понадобится ремонт телевизоров «Самсунг» в Саратове. Мастер заменит неисправную плату T-CON и проверит состояние шлейфа матрицы.
Невозможно избавиться от горизонтальных полос без помощи умелых работников. Сложное электронное устройство не советуют разбирать самостоятельно людям, далеким от техники. Неумелые манипуляции могут только усугубить ситуацию. Доверьте выполнение восстановительных работ профессионалам, имеющим соответствующий квалификационный опыт. Обращайтесь к нам, если вам требуется качественный ремонт в Саратове (Ленинский район).
Мы гарантируем каждому клиенту обслуживание на высоком уровне. Только специализированные модули и современное оборудование позволят сделать аккуратно ремонтные работы на дому.

См. также:
Несложные действия, которые можно проделать самостоятельно
Если обнаружили проблему поломки экрана телевизора, можно выполнить некоторые манипуляции, которые, вероятно, помогут решить проблему, если она кроется на поверхности.
- Попробуйте выключить питание телевизора и снова запустить через несколько минут. Если произошёл программный сбой, то работа телевизора восстановится.
- Пытаемся заново подключить антенные кабели к разъёмам на задней панели телевизора. Возможно, где-то есть дефект проводов или штекеров.
- В случае, если изображение теряется при попытке подключить любой другой электроприбор, значит проблема в скачках напряжения. Это повод приобрести стабилизатор.
- В случае отсутствия картинки на ТВ, запустите громкость до предела на несколько секунд, а затем верните в нужный диапазон. Спустя несколько минут изображение появится.

Управления пультом может быть недоступно в случае повреждения экрана, поэтому иногда приходится «поиграть» кнопками. В сегодняшней публикации мы подробно разобрали все причины неработоспособности изображения на телевизоре. Если у вас остаются вопросы или вам приходилось самостоятельно проводить ремонт, пишите в комментарии и делитесь мнением.
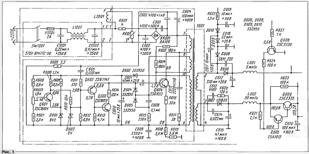
Пошаговая инструкция по ремонту блока питания телевизора
Блоки питания современных телевизоров имеют, как правило, типовую схему. Имеющиеся различия сводятся лишь к размерам электронных элементов и выходной мощности. В связи с этим диагностика и ремонт происходят по одной методике.
Типовая схема блока питания зарубежного телевизора:

Необходимые инструменты и материалы
Для ремонта следует запастись инструментами и материалами, без которых качественно устранить неисправность не получится:
- паяльник, имеющий регулируемую мощность;
- припой, спирт (очищенный бензин), флюс;
- удалитель расплавленного припоя;
- отвертки в наборе;
- кусачки (бокорезы);
- пинцет;
- тестер (мультиметр);
- лампа 100 ватт.

Начиная ремонт блока питания телевизора, необходимо иметь под рукой принципиальную схему модели (при отсутствии таковой ее можно скачать в Интернете на официальном сайте производителя).
Пошаговая инструкция по устранению неисправности блока питания
Соблюдая последовательность схемы проверки и устранения неисправности, можно обнаружить и отремонтировать основные повреждения блока питания телевизора:
- Проверяем питающий шнур, розетку и/или удлинитель на отсутствие повреждений.
- Разбираем телевизор и освобождаем электронную плату.
- Осматриваем платы блока питания, выявляя, есть ли вздувшиеся конденсаторы, лопнувшие корпуса, обугленные резисторы.
- Проверяем пайки, особенно пропайку контактов импульсного трансформатора.
- Если не получилось визуально выявить поврежденный элемент, последовательно тестируем предохранители, диоды, электролитические транзисторы и конденсаторы. Однако установить поломку управляющих микросхем возможно лишь косвенно – когда нет питания, а все дискретные элементы исправны. На практике случается, что при неработающем модуле питания остается целым предохранитель. Подобное обстоятельство может указывать на проблему с транзистором генератора высокочастотных импульсов.
- Проверяем, не выпаивая из платы, нет ли обрыва балластного сопротивления, короткого замыкания высоковольтного фильтрующего конденсатора, перегорания (пробоя) выпрямительных диодов.
- Выявив поврежденный элемент, производим его замену.
- Если неисправность диагностируется при нагревании телевизора, устранить ее можно, охладив неисправный элемент с помощью смоченной в спирте или ацетоне ватной палочки. Если неизвестно, какая конкретно деталь является причиной, можно спровоцировать проявление неисправности, нагревая тот или иной элемент паяльником.
- Проводим проверку сделанного ремонта. Устанавливаем лампу на место предохранителя, включаем телевизор в сеть. Если лампочка загорается и тухнет, светит индикатор, виден растр на экране, первым делом производим замер напряжения строчной развертки. Если оно завышено, проверяем и заменяем электролитические конденсаторы. Такое же поведение наблюдается и при выходе из строя оптронных пар.
- Если при вспыхивающей и гаснущей лампочке индикатор молчит, растра нет, это указывает на проблему запуска генератора импульсов. Проводим проверку уровня напряжения на электролитическом конденсаторе фильтра высоковольтной части. Если она показывает не более 279 вольт, ищем причину в пробитых диодах выпрямительного моста либо утечки конденсатора. Если напряжения нет совсем, проводим повторную проверку цепей питания. Также нужно протестировать все диоды выпрямителя высокого напряжения.
- При сильном свечении лампы сразу же отключаем телевизор от сети. Вновь тестируем все электронные элементы.
Ремонт блока питания телевизора Samsung UA32EH4003:
Watch this video on YouTube
Как происходит пошаговая диагностика неисправности блока питания телевизора и как осуществляется ремонт этого устройства, рассказывается в этом обучающем видеоролике:
Watch this video on YouTube
Ремонт импульсных блоков питания телевизоров:
Watch this video on YouTube
Выход из строя блока питания – одна из частых причин поломки телевизора. Руководствуясь пошаговой инструкцией, можно провести ремонт самостоятельно. При отсутствии достаточной практики и теоретических знаний лучше сразу обратиться в ремонтную мастерскую, чтобы избежать возникновения более серьезных проблем.
Способы избавиться от помех
Бывает, экран телевизора мерцает только при просмотре эфирных телепередач, а с «флешки», DVD-плеера или при подключении компьютера изображение в порядке. Дело в плохом сигнале, который вызван неисправностью антенны или кабеля. В зависимости от типа вещания меняется и подход к решению.
Спутниковое телевидение подключается антенной, кабелем, ресивером или особой картой, вставляемой в телевизор. Диагностика:
- сам телеприемник должен уверенно поддерживать цифровое телевидение. Например, при просмотре со старого кинескопного ТВ не стоит удивляться помехам;
- проверяют состояние антенны. Возле нее не должны располагаться металлические предметы, глушащие сигнал. Если используется тарелка – ее поворачивают к источнику (придется обратиться к провайдеру – поставщику услуги);
- если сигнал слабый, поможет усилитель;
- проверяют состояние кабеля. Заломы, загибы и прочие механические дефекты и станут причиной помех;
- осматривают разъемы телевизора. Там не должно быть пыли, они должны быть целыми, без повреждений.
Прежде чем начинать какие-либо манипуляции, лучше позвонить провайдеру и убедиться, что он не проводит плановые технические работы или что не случились сбои.
Наиболее популярный вариант вещания – по кабелю, который и называют кабельным. Диагностика:
- изучают состояние кабеля, по которому передается сигнал. Он должен быть целым, без крутых изгибов. По этой причине мебель на него лучше не ставить;
- смотрят на разъем. Если проводка подключалась внатяжку – со временем, под нагрузкой, она деформируется, что и становится причиной ряби, мерцания, полос.

Аналоговое телевидение подключается по кабелю или через антенну. Чтобы проверить, что причина в источнике сигнала, достаточно вытащить провод. Если мерцание никуда не ушло:
- меняют кабель, идущий от антенны к телеприемнику;
- заменяют антенный разъем;
- проверяют, нет ли рядом с антенной металлических предметов.
Бывает, дефекты изображения проявляются только на определенных каналах. Достаточно их перенастроить. Если проблема сохранилась, можно поинтересоваться, как дела обстоят у соседей, как у них показывает этот телеканал.
Порой возникают помехи, которые не поддаются описанию. Здесь дела уже обстоят серьезней – вероятно, испортился внутренний блок телевизора, какая-то его деталь или микросхема. Вызвано это может быть попавшей внутрь ТВ пыли или воды.
Ремонт своими руками
Самостоятельно получится отремонтировать разве что антенну. Если проблемы серьезнее, лучше обратиться к телемастеру, иначе можно сделать только хуже.
Алгоритм замены штекера на кабеле:
- Снимают старый, поврежденный штекер.
- Зачищают провод на 1 – 1,5 см.
- Закрепляют коннектор таким образом, чтобы его тело не прикасалось к центральному каналу кабеля.
- На коннектор (доступный в любом магазине, торгующем стройматериалами) накручивают штекер, который и будет подключаться к телеприемнику.
Если опыта таких работ нет, как и необходимых инструментов, лезть в телевизор не стоит. Лучше пригласить мастера.
Рябь, мерцание, полосы на экране возникают по разным причинам. Зачастую с этими дефектами можно справиться самому. Самый простой способ – позвонить оператору и поинтересоваться о сбоях. Если все в норме – ищут причину в антенне, разъемах. Если советы не помогли, и проблема кроется в механической поломке телевизора, самому ремонтировать не рекомендуется, стоит обратиться к телемастеру.
Почему возникает двойное изображение
Первым делом нужно обязательно проверить уровень сигнала, подаваемого на телеприёмник и его настойки. Если у вас есть антенна, то проверьте её положение.
Существуют также некоторые неполадки, которые характерны для экранов с определённой технологией, от самых старых моделей до новейших. Чтобы понять причину раздвоения, подробно осмотрите телевизор. А если вам неизвестно, какой именно у вас экран, найдите информацию на коробке или в интернете.
Один из новых экранов, предоставляющих возможность просматривать файлы в наивысшем качестве, называется ЖК LED. Такое устройство может показывать двойную картинку из-за поломки контроллера или шлейфа матрицы.
- Проекционный экран отличается тем, что здесь качество и реалистичность картинки достигается с помощью микросхем сведения. Если в их работе происходят какие-либо ошибки, изображение передаётся с дефектами.
- Плазменный экран обычно обеспечивает стабильно качественную работу. С такими телевизорами проблемы возникают редко. Но если это случается, ошибка чаще всего кроется в работе блока вывода изображения.
- Кинескопный прибор может доставить определенное неудобство. В телеприемнике могут быть перебои в функционировании блока или систем кадровой и строчной развёртки.
Когда причина найдена, нужно либо приступать к возможному ремонту, либо вызывать мастеров. Что можно сделать самостоятельно?
Проблема из-за телевизионного сигнала
Если экран ЖК телевизора начинает мерцать после подключения определенного источника питания, то значит, причина проблемы заключается в соединении. Например, дефект может появиться из-за неисправности антенны, кабеля или ресивера. С целью исключения причин неполадок, связанных с источниками телевизионного сигнала, последние следует тщательно протестировать.

Спутниковое ТВ
Чтобы настроить спутниковое телевещание, нужно использовать ресивер, источник сигнала и ТВ. В качестве источника телевизионного сигнала выступает спутниковая тарелка или кабель, проводимый провайдерами. Ресивер используется для дешифрования спутникового сигнала. На телевизор сигнал передается через HDMI или RCA интерфейс. Многое зависит от модели ТВ-устройства.
Неполадки в работе одного из перечисленных выше элементов приведет к тому, что экран телевизора Samsung станет мигать, изображение будет искажено. Не исключено появление и других дефектов.
Не спешите демонтировать или передвигать антенну, поскольку потом направить ее в нужном направлении будет чрезвычайно сложно. Для этого требуется дополнительное оборудование. Сначала просто отключите антенный кабель от дешифратора. На экране ТВ появится оповещение о том, что сигнал отсутствует.

Если мерцание прекратилось, значит, проблема в кабеле или спутниковом конвертере. Намного проще заново осуществить прокладку кабеля. Это займет минимум времени. Подключите новый кабель к ресиверу и проверьте качество вещания. Экран опять начал мигать? Это говорит о неисправности спутникового конвертера – специальное устройство, принимающее сигнал от тарелки. Самостоятельно отремонтировать конвертер вам не удастся. Обратитесь за помощью к специалистам.
В спутниковом соединении за качество изображения отвечает именно ресивер. Поэтому работоспособность дешифратора определяет комфорт во время просмотра. Как протестировать работу ресивера? Для начала отключите его от внешнего приемного кабеля. Нельзя исключать, что сбои возникли в модуле приема сигнала.
Альтернативное решение – замена (если есть возможность) или отключение кабеля, который подключен от дешифратора к ТВ. Переключите его на другой источник сигнала. Например, если вы выбрали аналоговый эфир и мигания прекратятся, значит, проблема определена верно.
Что делать, если после замены и отключения кабеля дисплей продолжает мерцать? Это свидетельствует о наличии аппаратных поломок телевизора. Обратитесь в сервис-центр.

Кабельное ТВ
Что делать, если мерцает изображение на телевизоре? Вариантов у пользователя не так много. Осмотрите телевизионный кабель, который был проложен провайдером в вашей квартире. При обнаружении механических повреждений поменяйте кабель.
Практика показывает, что проблемы с цветностью и другими помехами появляются из-за поломки штекера. Выявить поломку очень непросто. Разберите штекер и проверьте целостность элемента.

Если смена источника сигнала привела к исчезновению мерцания экрана, значит, проблема обнаружена правильно. Свяжитесь с Call-центром провайдера кабельного телевидения и сообщите о возникших неполадках. Предварительно постарайтесь своими руками починить или поменять штекер. Не исключено, что он сломался в результате короткого замыкания.
Аналоговое и цифровое ТВ
Если мигает изображение на телевизоре при аналоговом или цифровом подключении, то решить проблему не составит особого труда. Для начала проверьте антенну, особенно если она оснащена электронными устройствами, обеспечивающими усиление сигнала. Пошевелите антенну. Мерцание не исчезло? Отсоедините кабель от телеантенны. Дефекты исчезли? Придется поменять кабель или антенну.
Мерцание – далеко не единственный сбой, с которым сталкиваются пользователи. Очень часто изображение искажается и пищит телевизор. Все это может быть следствием неисправности обыкновенной антенны.
Системные неисправности
Если в ходе проверки было выяснено, что с экраном все в норме, то есть к нему идет ток, разбираются с тем, по какой причине сигнал выводится некорректно.
Отсутствие видеосигнала

Кабель типа Thunderbolt Для передачи звука и изображения используются композитные и компонентные кабеля, где сигналы идут по отдельному проводу. Поэтому, если картинка отсутствует, возможно, провод испортился. Какие применяются шнуры для телевизионной техники:
- RCA. В народе их называют «тюльпаны» за цветочную расцветку. С их помощью к ТВ подключают цифровые приставки, DVD-плееры и другие медиаустройства;
- HDMI/VGA. Компонентные, где проводов несколько, а штекер один, с множеством пинов. Бывает, кабель, ответственный за передачу видеосигнала, выходит из строя.
Нередко такое случается с кабелями типа Thunderbolt, USB Type-C. Но, отсутствие картинки на экране не всегда свидетельствует об испорченном проводе, поэтому его лучше перепроверить, подключив к другому устройству. Если он и там не работает – нужна замена.
Неисправность декодера

UHF-антенна Даже если с проводкой все в норме, видеосигнал передается как положено, но экран как потух, так и не загорается – возможно, проблема в некорректной работе дешифратора, который не может преобразовать «цифру» в аналоговый сигнал.
В телевизорах установлены разные устройства ввода, от чего зависит расположение дешифратора:
- цифровой ТВ. Внешние устройства, включая UHF-антенну, «связываются» с ним напрямую, при этом сигнал передается в двоичном коде. Телевизор этот код «понимает» и сам преображает его в более привычный, чтобы впоследствии вывести на экран. Он же и ответственен за дешифровку, поэтому декодер ищут где-то в корпусе техники;
- аналоговый. Картинка и звук поступают в привычном виде, каждый сигнал в отдельном проводе (AV, RCA, SCART). Декодером здесь выступает цифровой ресивер или видеокарта ноутбука, ПК.
Способы решения:
- Передать телевизор или ресивер мастеру для дальнейшего ремонта, в ходе которого будет заменен дешифратор (обычно это устройство стоит больше самой услуги).
- Купить цифровой ресивер. Тогда ТВ будет получать привычный для него сигнал. Чтобы техника могла расшифровывать эфирный, кабельный или спутниковый формат, ресивер должен поддерживать DVB-T2, DVB-C, DVB-S
Возможные проблемы

Несмотря на компонентную конструкцию, VGA/HDMI-кабели тоже могут частично выйти из строя и передавать только звук
В зависимости от пути решения проблемы, по которой телевизор вообще не показывает изображение, пользователь сталкивается с разной ситуацией.
Наиболее часто наблюдаются такие случаи:
- Картинка есть, но кривая, как сделать на весь экран? Это происходит при выборе неверного разрешения. При выводе контента с другого устройства нужно зайти в его настройки и установить подходящее разрешение для экрана. Если речь идет о цифровом телевидении, в установках приставки меняется формат с 4:3 на 16:9.
- Изображение появилось, но пропал звук, как быть? Вероятно, был подключен другой кабель под разъем DVI. Данный стандарт не поддерживает вывод аудиосигнала и для звука нужно отдельное подключение. Такая же неполадка бывает и при использовании HDMI-кабеля, об этом подробнее можно узнать в статье «Нет звука через hdmi на телевизоре».
- Появилось изображение, но с «кубиками» и звук неприятный, что это? Изначально проблема была не только с получением сигнала, но и неверном направлении антенны, либо слабом поступлении сигнала. Первая проблема решена, вторая — осталась. Она решается перенаправлением антенны на вышку, т.к. помехи в цифровом ТВ наблюдаются только при частичной потере сигнала. Проблема «кривого» изображения связана с низким качеством сигнала, о чем можно узнать в материале «Нет сигнала на телевизоре, что делать?»
- Переподключил компьютер, теперь картинка появилась, но почему ее качество ниже если разрешение экрана больше? Такая ситуация наблюдается, если стандарт устройства вывода ниже, чем у подключенного девайса. В данном случае компьютер может передавать изображение высокой четкости по стандарту HDMI, который не поддерживает телевизор, качество снижается.
Также следует помнить, что проблема вывода изображения на экран не всегда может быть связана именно с ним, необходимо проверять и иные устройства, подключенные к нему.















![У телевизора пропало изображение а звук есть: [причины + решение]](https://media-digital.ru/wp-content/uploads/a/3/5/a356d63ff0b907782e8eab3809976e88.jpeg)

















![У телевизора пропало изображение а звук есть: [причины + решение]](https://media-digital.ru/wp-content/uploads/3/1/d/31d6f72990594280a8813f9af3f5507c.jpeg)























